国芯思辰|地芯科技14位 10MSPS模数转换器GAD2245(替代LTC2245)
在无线通信系统中或者成像系统中有很多量都是模拟量,为了实现对这些模拟量的测量、运算和控制,系统中需要一个模拟量和数字量之间的相互转化的过程,而这个任务就是由ADC(模数转换器)来完成的。
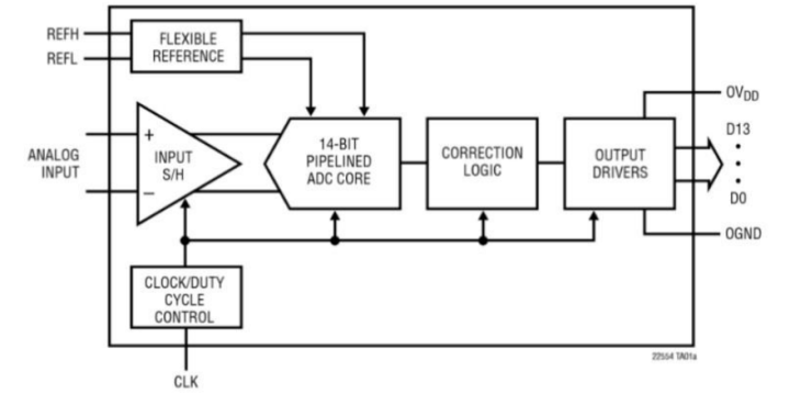
这里重点提到地芯科技的GAD2245,该芯片是14位 10MSPS、低功耗3V单电源供电的模数转换器,可替代ADI(亚德诺)的LTC2245用于数字化高频、宽动态范围信号。GAD2245非常适合要求高的成像和通信应用,其交流性能包括73dB的信噪比(SNR)和88dB的奈奎斯特域的无杂散动态范围(SFDR)。

GAD2245功能框图
直流性能包括±1LSB INL(典型值)、±0.5LSB DNL(典型值) 和全温度范围无丢失码。转换噪声低至1.3LSBRMS。
单电源3V供电支持低功耗运行。独立输出电源支持输出驱动0.5V至3.3V逻辑。单端CLK输入控制转换器操作。一个可选的时钟占空比稳定器允许在全速范围内的时钟占空比高性能运行。
主要性能:
●3V模拟电源供电
●3V数字电源供电
●灵活输入范围:1V P-P to 2V P-P
●0.5V至3.3V输出电源
●低功耗:60mW (10MSPS)
●10MHz采样,2.5MHz输入:信噪比(SNR)77dBFS,无杂散动态范围(SFDR):82dB
●微分非线性(DNL):±0.25LSB(典型值)
展开全文
●输入端参考噪声:0.96LSB RMS
●片内基准电压源和采样保持电路
●QFN-32封装5mm×5mm
●替代ADI(亚德诺)的LTC2245
应用场合:
●无线宽带通信和有线宽带通信
●成像系统
●光谱分析
●便携式仪器智能天线系统
●手持式示波器
输入驱动阻抗
与所有高性能、高速模数转换器一样,GAD2245的动态性能会受到输入驱动电路的影响,特别是二次谐波和三次谐波。源阻抗和电抗会影响SFDR。在CLK下降沿,采样保持电路将3.5pF采样电容连接到输入引脚并开始采样周期。当CLK上升时,采样周期结束,保持采样电容器上的采样输入。
理想情况下,输入电路应足够快,以便在采样周期1/(2fCODE)期间对采样电容器完全充电;然而,这并不总是可能的,并且不完全沉降可能会降低SFDR。采样误差被设计成尽可能线性的,以最小化不完全沉降的影响。为了获得最佳性能,建议每个输入的源阻抗小于或等于100Ω。源阻抗应与差分输入相匹配。不匹配会导致更高的偶次谐波,尤其是二次谐波。
注:如涉及作品版权问题,请联系删除。





评论